Bảo vệ cho thiết bị kết nối tín hiệu 48V
B480-48D3 là một trong những thiết bị chống sét lan truyền đường tín hiệu chuyên dụng của CITEL (Pháp), được thiết kế để bảo vệ 4 cặp đường tín hiệu (4-pair) hoạt động ở mức 48 VDC.
Sản phẩm phù hợp cho mạng viễn thông RNIS-T0, hệ thống dữ liệu công nghiệp, và đặc biệt có thể ứng dụng để bảo vệ vòng lặp báo cháy (Fire Alarm Loop) – nơi yêu cầu độ tin cậy và an toàn cao.
Với công nghệ bảo vệ kết hợp GDT + Diode kẹp, B480-48D3 đảm bảo bảo vệ thiết bị khỏi xung điện áp đột biến do sét lan truyền mà vẫn duy trì chất lượng tín hiệu tối ưu
CITEL B480-48D3 là giải pháp chống sét lan truyền tin cậy cho các hệ thống tín hiệu quan trọng. Với công nghệ GDT + Diode kẹp, khả năng chịu xung cao và chứng nhận UL Listed, sản phẩm đảm bảo bảo vệ hiệu quả cho đường dữ liệu viễn thông và vòng lặp báo cháy, giúp thiết bị vận hành ổn định và kéo dài tuổi thọ trong các môi trường khắc nghiệt.
| Model | B480-48D3 |
| Ứng dụng bảo vệ | ISDN-T0, đường tín hiệu 48V |
| Số đường được bảo vệ | 4 pair |
| Điện áp họat động định mức - Un | 48 Vdc |
| Điện áp hoạt động tối đa DC - Uc | 53 Vdc |
| Dòng tải tối đa (IL) | 300 mA |
| Đáp ứng tần số tối đa -fmax | > 3 MHz |
| Độ suy hao tín hiệu | < 1 dB |
| Dòng cắt xung lan truyền 8/20μs định mức - In | 5 kA |
| Dòng cắt xung lan truyền 8/20μs tối đa - Imax | 20 kA |
| Dòng cắt xung 8/20μs tối đa - Imax total | 20 kA |
| Dòng cắt xung trực tiếp 10/350μs - limp | 2.5 kA |
| Điện cảm đường dây | không |
| Kiểu bảo vệ | đồng hướng / lệch hướng |
| Cấp bảo vệ - Thử nghiệm theo category C3 (IEC61643-21) - Line/Line (Up) | 70 V |
| Điện dung tối đa (C) | < 150 pF |
| Phần tử bảo vệ bên trong | GDT + clamping diode |
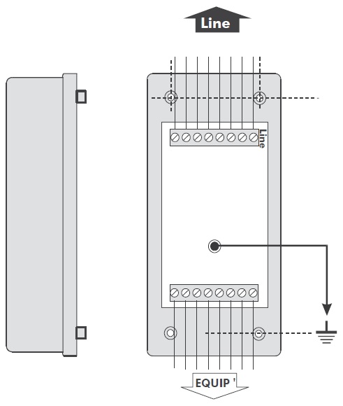
| Kiểu kết nối | Xiếc ốc 0.4-1.5 mm² |
| Lắp đặt | Lắp trên tường |
| Chất liệu vỏ | Thermoplastic UL94 V-0 |
| Cấp bảo vệ chống thấm | IP20 |
| Tình trạng lỗi | Ngắn mạch và đường truyền bị gián đoạn |
| Mod thay thế | S480-48D3 |
| Ngắt kết nối báo hiệu từ xa | không có |
| Tuân thủ các tiêu chuẩn | IEC 61643-21 / EN 61643-21 / UL497A |
| Chứng nhận | UL listed |
B480-48D3 được đấu nối tiếp trên 4 đường tín hiệu ISDN/48V. Cổng đấu nối vào (Line) / ra (Equip) trên thiết bị đấu nối kiểu xiếc ốc, nối tiếp đất ở chốt nối. Xem thêm file hướng dẫn lắp đặt của nhà sản xuất

